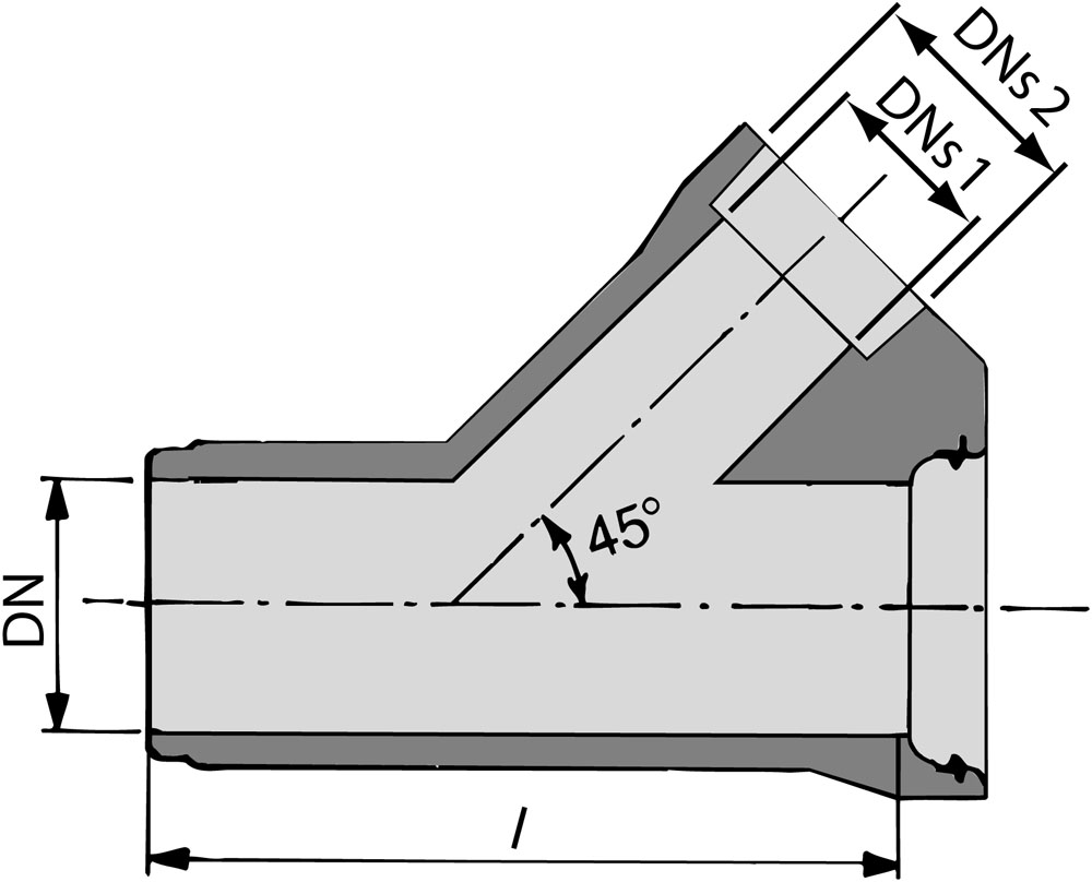
Hjem / Produkter / BASAL grenrør ig AR BASAL grenrør ig AR Mål (mm) Vekt ca. kg DN DNs 1* DNs 2* l200 160/186 200/226 550 90 250 160/186 200/226 550 120 300 160/186 200/226 550 140 Table Plugin * For tilknyttning av PVC og PP grunnavløpsrør ved bruk av F910 AR pakning Produkter Rør og rørdeler BASAL bekkeinntak BASAL bend ig BASAL bend ig falsrør BASAL dimensjonsovergang ig BASAL falsrør BASAL falsrør ig BASAL grenrør ig BASAL grenrør ig AR BASAL ig langbend BASAL inntakskum BASAL mufferør ig BASAL propper BASAL Qmax BASAL Qmax-V BASAL skrårør ig BASAL slisserenne 200/275 BASAL spissvender falsrør BASAL spissvender ig BASAL spissvender Qmax BASAL spissvender Qmax-V BASAL vingemur BASAL vingemur type vossing Fleksibelt lag (EPS) reduserer rørbelastningen Kummer og kumdeler Basal Aqua-Safe vannkum BASAL avslutnings- og justeringsringer i resirkulert materiale BASAL Briljant BASAL bunnseksjon type 1 BASAL bunnseksjon type 2, 3, 4 BASAL dykker BASAL flushkum BASAL forstøtningsskjold BASAL hjelpesluk DN650 BASAL ig kjegler (eksentrisk mannhull) BASAL ig kjegler (sentrisk mannhull) BASAL ig kompaktkum BASAL ig kumringer BASAL ig kumringer m/bunn BASAL ig mellomdekker BASAL ig topplater BASAL justeringsringer med fals BASAL justeringsringer med not og fjær BASAL kjegler (eksentrisk mannhull) BASAL kjegler (sentrisk mannhull) BASAL kumringer BASAL kumringer m/bunn BASAL Manifold F911-5 BASAL mellomdekker m/mannhull BASAL Optikum BASAL overgangsplater Permakum – et nytt og spennende sandfang! BASAL sandfang DN 1000 BASAL topplater Forankringsplate for bend på vannledning IFS kum Vannkum iht VA-miljøblad nr. 112 Utskillere og renseprodukter BASAL fettutskiller BASAL lamellutskiller BASAL olje- og bensinutskiller BASAL pumpestasjon Trekkekummer IT-Tunnelkum Ledkum Rektangulære trekkekummer Sarkofag trekkekum Supplerende produkter BASAL Iso lokk BASAL Pipelifter Gategods av støpejern Isohatt Isolokk Kumgjennomføring til vannkum Løfteutstyr Mengderegulator Pakning til kum (selvfall PVC/PP) Pakning til rør Stige Nedlastinger Last ned side i produktkatalog
BASAL grenrør ig AR Mål (mm) Vekt ca. kg DN DNs 1* DNs 2* l200 160/186 200/226 550 90 250 160/186 200/226 550 120 300 160/186 200/226 550 140 Table Plugin * For tilknyttning av PVC og PP grunnavløpsrør ved bruk av F910 AR pakning